Samsung Display, une filiale de Samsung Electronics, expose souvent des concepts lors de salons professionnels tels que le Consumer Electronics Show (CES) et le Mobile World Congress (MWC), entre autres. Par exemple, le fabricant d'écrans a profité du MWC 2025 pour présenter diverses innovations, dont le Flex Gaming et le Flexible Briefcase.
En règle générale, ces concepts restent exactement les mêmes et n'atteignent jamais la production de masse. Toutefois, il semble que Samsung Display ait également profité du MWC 2025 pour présenter les panneaux pliables qui seront à la base du premier écran triplé grand public de Samsung premier triplé grand public de Samsung et le successeur et le successeur du Galaxy Z Fold6 (actuellement 1 099 $ - renouvelé sur Amazon).
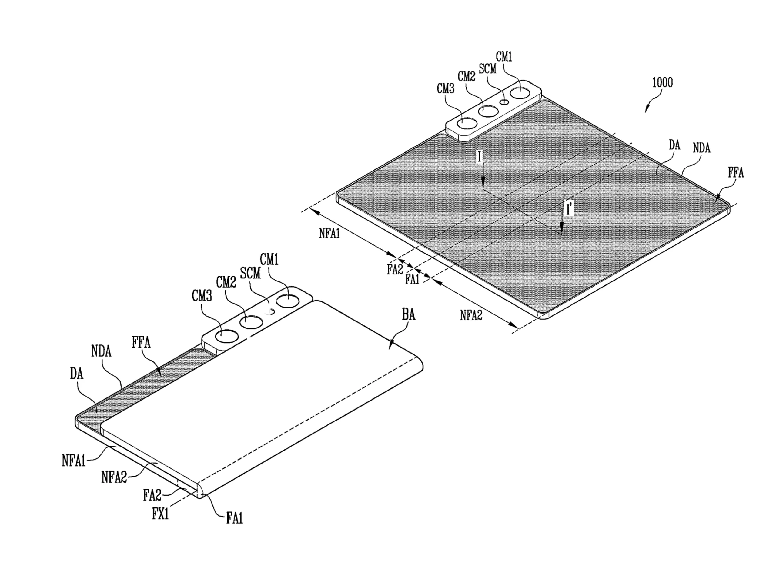
Aujourd'hui, l'entreprise a reçu l'approbation de conception de l'Office américain des brevets et des marques ( ) pour un tout nouveau format pliable (USPTO) pour un tout nouveau facteur de forme pliable. Comme le montrent les dessins du brevet ci-dessous, ce concept peut plier son écran vers l'intérieur et vers l'extérieur, et non dans un seul sens comme les écrans pliables grand public existants. En fait, ce concept combine les principes du Galaxy Z Fold et du Huawei Mate Xs Huawei Mate Xs ou Mate Xs 2 en un seul appareil.
Le design breveté diffère du Flex In N Out que Samsung Display a présenté lors du CES 2023 il y a plus de deux ans. Pour résumer, le Flex In N Out ressemblait à un appareil pliable ordinaire qui pouvait se replier vers l'intérieur et vers l'extérieur. En revanche, le nouveau concept de Samsung Display laisse une partie de l'écran exposée sous le triple réseau de caméras imaginé. Bien que les chances de voir ce concept se concrétiser soient minces, nous pourrions éventuellement voir Samsung Display présenter un exemple réel lors d'un prochain salon, comme elle l'a fait en début d'année avec le Flex Gaming.
Top 10
» Le Top 10 des PC portables multimédia
» Le Top 10 des PC portables de jeu
» Le Top 10 des PC portables de jeu légers
» Le Top 10 des ordinateurs portables bureautiques
» Le Top 10 des PC portables bureautiques premium/professionnels
» Le Top 10 des Stations de travail mobiles
» Le Top 10 des Ultraportables
» Le Top 10 des Ultrabooks
» Le Top 10 des Convertibles
» Le Top 10 des Tablettes
» Le Top 10 des Tablettes Windows
» Le Top 10 des Smartphones
» Le Top 10 des PC Portables á moins de 300 euros
» Le Top 10 des PC Portables á moins de 500 euros
» Le Top 25 des meilleurs écrans d'ordinateurs
















