Dans un nouveau brevet découvert par tech4gamers.com, AMD exprime ses inquiétudes quant aux limites de la bande passante de la norme DDR5, notamment en raison de la demande croissante de puissance de calcul pour l'IA. Alors que Nvidia et les fabricants de puces mémoire comme Samsung, SK Hynix et Micron se concentrent sur la norme SOCAMM2 aMD propose une alternative qui serait plus facile à mettre en œuvre dans les systèmes DDR5 existants, qu'il s'agisse de solutions grand public ou de solutions pour centres de données.
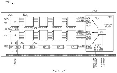
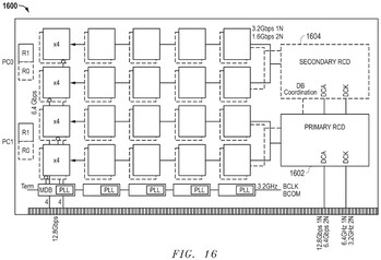
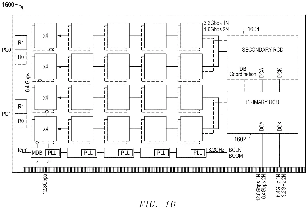
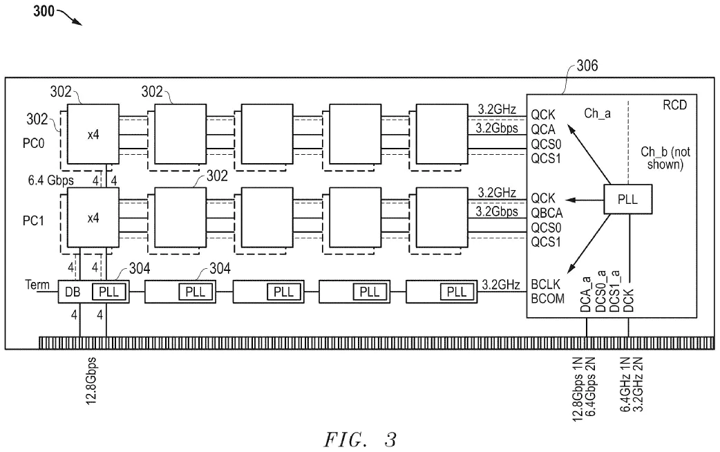
La norme de mémoire améliorée d'AMD implique "une architecture de module de mémoire à large bande passante" qui double essentiellement la bande passante maximale actuelle de la DDR5, qui est de 6,4 Gbps. Il est important de noter ici que la bande passante de 12,8 Gbps est obtenue sans modifier la conception des puces DRAM. Au lieu de cela, les puces DRAM sont placées sur un module de mémoire double en ligne à large bande passante (HB-DIMM). Les modules intègrent également une série de composants matériels supplémentaires tels que des puces tampons spéciales qui permettent des transferts de données deux fois plus rapides que ce qu'autorise la norme DDR5. En outre, le module utilise des pilotes d'horloge de registre (RCD) qui acheminent les signaux plus efficacement, parallélisant l'accès à la mémoire et dépassant ainsi les limites de débit de la norme DDR5.
Le dépôt de brevet indique que les modules HB-DIMM permettent une commutation rapide entre les modes pseudo-canal et quadruple rang, ce qui rend la solution viable pour les HPC, les cas d'utilisation de l'IA, ainsi que les systèmes de jeu. La compatibilité DDR5 est assurée par des modes d'horloge flexibles et un format de transfert de données non entrelacé qui préserve l'intégrité du signal et une faible latence.
Il semble que la norme HB-DIMM soit très similaire à la norme MRDIMM (Multiplexed Rank Dual Inline Memory Modules) de Micron ( ). Cependant, le MRDIMM n'est disponible que pour la plateforme Xeon Granite Rapids d'Intel, AMD cherche donc probablement à avoir quelque chose de similaire pour les futurs processeurs EPYC. Phoronix a récemment publié un test DDR5-6400 vs MRDIMM-8800 et le standard propriétaire de Micron semble effectivement plus rapide, mais certainement pas deux fois plus rapide que le DDR5.
SOCAMM2 bénéficie actuellement d'un plus grand soutien de la part de l'industrie, de sorte que le HB-DIMM d'AMD pourrait avoir du mal à être adopté, du moins en ce qui concerne les secteurs du HPC et des serveurs.
Source(s)
via Techradar / Tech4Gamers / OC3D.net
Top 10
» Le Top 10 des PC portables multimédia
» Le Top 10 des PC portables de jeu
» Le Top 10 des PC portables de jeu légers
» Le Top 10 des ordinateurs portables bureautiques
» Le Top 10 des PC portables bureautiques premium/professionnels
» Le Top 10 des Stations de travail mobiles
» Le Top 10 des Ultraportables
» Le Top 10 des Ultrabooks
» Le Top 10 des Convertibles
» Le Top 10 des Tablettes
» Le Top 10 des Tablettes Windows
» Le Top 10 des Smartphones
» Le Top 10 des PC Portables á moins de 300 euros
» Le Top 10 des PC Portables á moins de 500 euros
» Le Top 25 des meilleurs écrans d'ordinateurs







