Un nouveau brevet suggère que le crayon Apple pourrait éventuellement bénéficier d'une nouvelle fonctionnalité intéressante. Selon un dépôt récemment publié par l'Office américain des brevets et des marques, Apple pourrait développer un nouveau crayon Apple capable de scanner et de copier les couleurs d'objets du monde réel.
Le brevet, qui a été déposé le 3 novembre 2019 et publié le 16 juillet 2020, détaille un "stylet d'ordinateur" avec une "pluralité de photodétecteurs dont chacun mesure la lumière pour un canal de couleur réceptif différent". En termes simples, ce dépôt concerne un stylet (probablement le Apple Pencil) qui possède un capteur lui permettant de scanner et de copier les couleurs d'objets du monde réel.
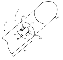
Selon les dessins joints au brevet, le capteur de couleur serait situé soit à l'arrière du Crayon Pomme (là où se trouve la gomme), soit à la pointe du stylet. (Notez que le brevet stipule que le capteur de couleurs pourrait être situé "ailleurs dans l'appareil", mais ces deux emplacements sont détaillés dans les dessins et sont les plus logiques). Le boîtier du capteur de couleurs peut également comporter une source d'éclairage pour éclairer les objets afin d'améliorer la précision et la cohérence des lectures de couleurs.
N'oubliez pas qu'Apple dépose des milliers de brevets chaque année, et que la plupart d'entre eux ne sont jamais utilisés dans les produits futurs. Toutefois, un crayon Apple à capteur de couleurs pourrait être un outil utile pour les artistes et permettrait à l'iPad de se démarquer davantage des autres tablettes du marché.
Que pensez-vous du nouveau brevet sur les crayons Apple Pencil ? Acheteriez-vous un Apple Pencil capable de saisir les couleurs d'objets du monde réel ? Faites-le nous savoir dans les commentaires.
Top 10
» Le Top 10 des PC portables multimédia
» Le Top 10 des PC portables de jeu
» Le Top 10 des PC portables de jeu légers
» Le Top 10 des ordinateurs portables bureautiques
» Le Top 10 des PC portables bureautiques premium/professionnels
» Le Top 10 des Stations de travail mobiles
» Le Top 10 des Ultraportables
» Le Top 10 des Ultrabooks
» Le Top 10 des Convertibles
» Le Top 10 des Tablettes
» Le Top 10 des Tablettes Windows
» Le Top 10 des Smartphones
» Le Top 10 des PC Portables á moins de 300 euros
» Le Top 10 des PC Portables á moins de 500 euros
» Le Top 25 des meilleurs écrans d'ordinateurs
















