Toyota travaille sur une simulation de transmission manuelle pour certains de ses véhicules électriques. Une demande de brevet a été déposée au Japon en 2022, et une nouvelle publication de demande de brevet américain suggère que l'entreprise pourrait également déployer la technologie sur ce marché. Dans une présentation https://media.toyota.co.uk/toyota-unveils-new-technology-that-will-change-the-future-of-cars/ au début de l'année, Toyota a annoncé son intention de développer du matériel et des logiciels pour les véhicules électriques à batterie, afin de leur permettre d'avoir des fonctions de contrôle de la conduite et d'embrayage.
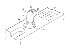
Le brevet américain de Toyota décrit une boîte de vitesses manuelle virtuelle, utilisant un levier de vitesse de conception similaire à ceux que l'on trouve dans une voiture manuelle classique. Les dessins montrent le dispositif de changement de vitesse avec un motif indiquant au conducteur où se trouve chaque rapport virtuel et suggèrent que le même chemin de sélection transversal pourrait être utilisé. Les étages correspondent aux niveaux de couple générés par le moteur électrique. Le dossier indique que Toyota envisage des options pour les véhicules qui ne sont pas limités à six ou sept vitesses, comme c'est généralement le cas pour les voitures manuelles. En outre, les utilisateurs pourraient choisir parmi différents modèles de couple pour s'adapter à leur style de conduite préféré.
Toyota teste déjà cette technologie sur une Lexus UX300e EV. Ceux qui ont conduit le concept EV manuel décrivent l'expérience de conduite comme amusante et notent qu'il est possible de "caler" le véhicule. Il reste à savoir si et quand cette technologie pourra être achetée pour un véhicule électrique du groupe Toyota. Des rumeurs suggèrent que le concept FT-Se, présenté au Japan Mobility Show 2023, pourrait être l'un des premiers modèles dotés d'une transmission manuelle virtuelle.
Source(s)
Top 10
» Le Top 10 des PC portables multimédia
» Le Top 10 des PC portables de jeu
» Le Top 10 des PC portables de jeu légers
» Le Top 10 des ordinateurs portables bureautiques
» Le Top 10 des PC portables bureautiques premium/professionnels
» Le Top 10 des Stations de travail mobiles
» Le Top 10 des Ultraportables
» Le Top 10 des Ultrabooks
» Le Top 10 des Convertibles
» Le Top 10 des Tablettes
» Le Top 10 des Tablettes Windows
» Le Top 10 des Smartphones
» Le Top 10 des PC Portables á moins de 300 euros
» Le Top 10 des PC Portables á moins de 500 euros
» Le Top 25 des meilleurs écrans d'ordinateurs












