Garmin a toujours proposé des variantes de ses smartwatches destinées aux activités de plein air avec des capacités de chargement solaire qui offrent théoriquement une autonomie de batterie infinie. En pratique, les modèles Instinct 3 Solar et Fenix 7 Pro Solar (actuellement à 449 $ sur Amazon) offrent chacun entre trois et cinq semaines d'autonomie, en fonction de l'ensoleillement quotidien.
Jusqu'à présent, Garmin n'a proposé le chargement solaire qu'avec les smartwatches dotées d'un écran Memory in Pixel (MiP). Par conséquent, les Fenix 8 Solar et Tactix 8 Solar ne bénéficient pas de la technologie AMOLED plus vivante des Fenix E et Fenix 8. Par ailleurs, il n'existe pas encore de version solaire de la Fenix 8 Pro, Garmin limitant ses dernières smartwatches de marque Pro aux écrans AMOLED et microLED.
Top 10
» Le Top 10 des PC portables multimédia
» Le Top 10 des PC portables de jeu
» Le Top 10 des PC portables de jeu légers
» Le Top 10 des ordinateurs portables bureautiques
» Le Top 10 des PC portables bureautiques premium/professionnels
» Le Top 10 des Stations de travail mobiles
» Le Top 10 des Ultraportables
» Le Top 10 des Ultrabooks
» Le Top 10 des Convertibles
» Le Top 10 des Tablettes
» Le Top 10 des Tablettes Windows
» Le Top 10 des Smartphones
» Le Top 10 des PC Portables á moins de 300 euros
» Le Top 10 des PC Portables á moins de 500 euros
» Le Top 25 des meilleurs écrans d'ordinateurs
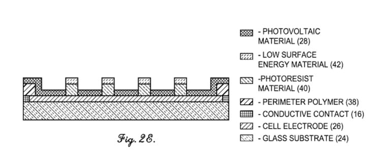
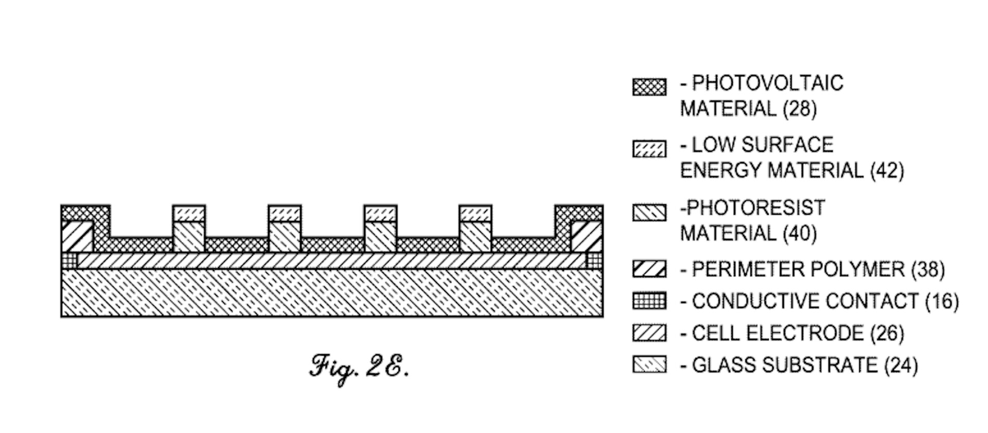
Toutefois, une récente publication de brevet indique que Garmin espère modifier cette restriction actuelle en retravaillant la mise en œuvre de ses cellules solaires. Déposé auprès de l'Office américain des brevets et des marques (USPTO) sous la référence US 2025/0359354 A1le brevet décrit une cellule solaire semi-transparente qui ne compromettrait pas la visibilité du panneau AMOLED.
Par conséquent, le site Gadgets & Wearables suppose que Garmin travaille à la mise sur le marché de smartwatches haut de gamme dotées d'écrans AMOLED et de capacités de recharge solaire. L'USPTO n'a délivré ce brevet que le 20 novembre. Nous soupçonnons donc Garmin d'être à quelques années de la production de masse de cette technologie, si tant est qu'elle décide de le faire. Ceci étant dit, nous ne nous attendons pas à voir arriver les smartwatches Fenix 9 Pro avant 2027.














